| Saatavuus: | |
|---|---|
| Määrä: | |
YH-S/2000
Piezohannas
YH-S/2000
Syvänveden hydrofoni vedenalainen akustinen kaikuanturi syvän veden syvyyteen

Tekniset parametrit:
malli |
YH-S/2000
|
resonanssitaajuus |
40kHz |
toimiva bändi |
20 kHz 一下 |
vastaanottava herkkyys |
≥ -200dB |
staattinen kapasitanssi |
5000pF |
suuntaavuus |
Vaakasuuntainen suuntaamaton |
Pystysuuntainen |
|
työskentelysyvyys |
2000m, 4000m, 6000m, 10000m |
kaapelin tekniset tiedot |
Φ5mm kaksinapainen suojattu kaapeli |
Syvän veden paineenkestävä rakenne, voi toimia 2000m/4000m/6000m veden syvyydessä.
Useiden piirirakenteiden sekoitettu sovellus vastaanottoherkkyyden ja staattisen kapasitanssin parantamiseksi.
Täysin sisäänrakennettu jousitusrakenne vähentää rakenteellisen tärinän vaikutusta.

Hydrofonissa on erityinen paineenkestävä rakenne, ja useiden keraamisten elementtien välillä on käytössä sarja-rinnakkaispiirirakenne, jotta varmistetaan hydrofonin vastaanottoherkkyys ja staattinen kapasitanssi paineenkeston edellytyksenä. Tämäntyyppisissä hydrofoneissa on 2000 metrin, 4000 metrin, 6000 metrin ja kymmenen tuhannen metrin sarjat. Anturin sähköisen suorituskyvyn suunnittelu ja rakennesuunnittelu voidaan tehdä käyttäjän vaatimusten mukaan.

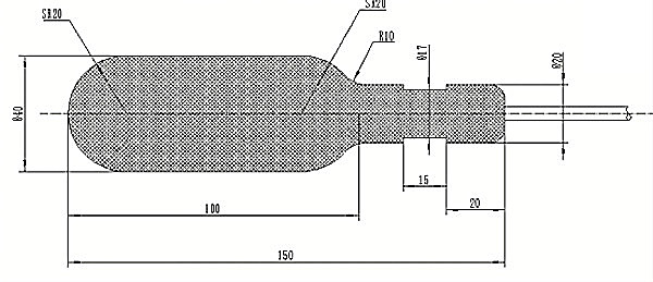
Ulkoinen piirustus:

Vedenalaisen akustisen anturin käyttökotelo
Asiakkaiden tarpeiden mukaan voimme suunnitella ja valmistaa pietsosähköisiä ultraäänimuuntimia, vedenalaisia akustisia kaikuantureita, ultraääniantureita ja antureita eri taajuuksilla, joilla on vakaa suorituskyky ja korkea laatu.

2. Vektorihydrofonien kalibrointi syvässä vedessä, suurin työsyvyys voi olla 3000 m, jota voidaan käyttää öljytäytteisille lineaarielementeille

3. Pinotun pallomaisen akustisen muuntimen korkein emissiovaste voi olla 156 dB ja korkein äänilähteen taso 202 dB, mikä on yli 6 dB korkeampi kuin tavalliset samankokoiset pallomuuntimet.


4.yksikidevektorihydrofonianturi
Verrattuna pietsosähköisiin keraamisiin muuntimiin PIN-PMN-PT yksikidelähetysanturin kokoa pienennetään yli 1/3:lla, lähetysjännitteen vastetaso on 2 ~ 10 dB korkeampi, impedanssin kaistanleveys on noin kaksi kertaa suurempi ja -3 dB kaistanleveys noin kaksi kertaa suurempi. Times; vastaanottoherkkyys on 3-5 dB suurempi. Yksikidevektorihydrofonilla on pieni liikkeen omakohina ja herkkyys on 4 ~ 6 dB korkeampi kuin samankokoisen pietsosähköisen vektorihydrofonin.

5. Kiinteä asennus vektorihydrofoni
Käyttämällä keskipylvästä kiinteänä alustana, keraamista leikkaustyötilaa, työtaajuusalue on 100-5000 Hz, asennus on yksinkertainen, suorituskyky on vakaa ja se voi korvata useimmat eri alustoille asennetut vektorihydrofonit.

Kartion muotoista heijastinta käytetään heijastamaan toroidisen muuntimen kehämäisesti säteilevät ääniaallot päätypintaan toimimaan, ja päätypinnalle voidaan toteuttaa suhteellisen vakaa säteen akustinen säteily.


Syvänveden hydrofoni vedenalainen akustinen kaikuanturi syvän veden syvyyteen

Tekniset parametrit:
malli |
YH-S/2000
|
resonanssitaajuus |
40kHz |
toimiva bändi |
20 kHz 一下 |
vastaanottava herkkyys |
≥ -200dB |
staattinen kapasitanssi |
5000pF |
suuntaavuus |
Vaakasuuntainen suuntaamaton |
Pystysuuntainen |
|
työskentelysyvyys |
2000m, 4000m, 6000m, 10000m |
kaapelin tekniset tiedot |
Φ5mm kaksinapainen suojattu kaapeli |
Syvän veden paineenkestävä rakenne, voi toimia 2000m/4000m/6000m veden syvyydessä.
Useiden piirirakenteiden sekoitettu sovellus vastaanottoherkkyyden ja staattisen kapasitanssin parantamiseksi.
Täysin sisäänrakennettu jousitusrakenne vähentää rakenteellisen tärinän vaikutusta.

Hydrofonissa on erityinen paineenkestävä rakenne, ja useiden keraamisten elementtien välillä on käytössä sarja-rinnakkaispiirirakenne, jotta varmistetaan hydrofonin vastaanottoherkkyys ja staattinen kapasitanssi paineenkeston edellytyksenä. Tämäntyyppisissä hydrofoneissa on 2000 metrin, 4000 metrin, 6000 metrin ja kymmenen tuhannen metrin sarjat. Anturin sähköisen suorituskyvyn suunnittelu ja rakennesuunnittelu voidaan tehdä käyttäjän vaatimusten mukaan.

Ulkoinen piirustus:

Vedenalaisen akustisen anturin käyttökotelo
Asiakkaiden tarpeiden mukaan voimme suunnitella ja valmistaa pietsosähköisiä ultraäänimuuntimia, vedenalaisia akustisia kaikuantureita, ultraääniantureita ja antureita eri taajuuksilla, joilla on vakaa suorituskyky ja korkea laatu.

2. Vektorihydrofonien kalibrointi syvässä vedessä, suurin työsyvyys voi olla 3000 m, jota voidaan käyttää öljytäytteisille lineaarielementeille

3. Pinotun pallomaisen akustisen muuntimen korkein emissiovaste voi olla 156 dB ja korkein äänilähteen taso 202 dB, mikä on yli 6 dB korkeampi kuin tavalliset samankokoiset pallomuuntimet.


4.yksikidevektorihydrofonianturi
Verrattuna pietsosähköisiin keraamisiin muuntimiin PIN-PMN-PT yksikidelähetysanturin kokoa pienennetään yli 1/3:lla, lähetysjännitteen vastetaso on 2 ~ 10 dB korkeampi, impedanssin kaistanleveys on noin kaksi kertaa suurempi ja -3 dB kaistanleveys noin kaksi kertaa suurempi. Times; vastaanottoherkkyys on 3-5 dB suurempi. Yksikidevektorihydrofonilla on pieni liikkeen omakohina ja herkkyys on 4 ~ 6 dB korkeampi kuin samankokoisen pietsosähköisen vektorihydrofonin.

5. Kiinteä asennus vektorihydrofoni
Käyttämällä keskipylvästä kiinteänä alustana, keraamista leikkaustyötilaa, työtaajuusalue on 100-5000 Hz, asennus on yksinkertainen, suorituskyky on vakaa ja se voi korvata useimmat eri alustoille asennetut vektorihydrofonit.

Kartion muotoista heijastinta käytetään heijastamaan toroidisen muuntimen kehämäisesti säteilevät ääniaallot päätypintaan toimimaan, ja päätypinnalle voidaan toteuttaa suhteellisen vakaa säteen akustinen säteily.

